北京市凌鷹起重機械廠
地址:北京市昌平區東小口
二十四小時手機:18611422091(同微信)
傳真: 010-58043523
網址:qhdbijin.com
抖音:lyqz18611422091
掃一掃加微信好友




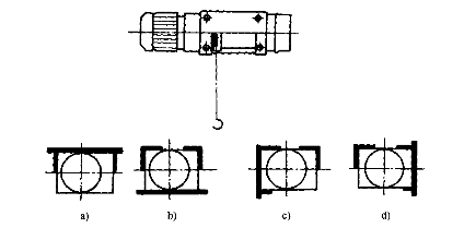
鋼絲繩電動葫蘆型式有很多種,包括固定式、單軌小車式、雙梁葫蘆小車式、單主梁角形葫蘆小車式。固定式又可以分為上方固定式(a)、下方固定式(b)、左方固定式(C)和右方固定式(d)。如下圖所示:

鋼絲繩電動葫蘆型式的選擇主要看具體的使用環境和使用場所,如只需在一個位置進行起吊即可,那么選擇固定式即可,如需在工字鋼軌道上左右行走,那就需要選擇運行式。例如:單軌小車式適用于具有運行機構,以單軌下翼緣作為運行軌道的電動葫蘆,根據電動葫蘆總體布置的結構形式不同,可分為標準建筑高度和低建筑高度兩種。在普通使用環境中,只需選擇標準建筑高度的鋼絲繩電動葫蘆即可,而低矮建筑物中則需選擇低建筑高度的鋼絲繩電動葫蘆。
一般專業的技術人員,可以準確的選擇出需要的鋼絲繩電動葫蘆的型式,但是一些不太專業的人員在選擇上就會有一定的困難,其實簡單的方法就是咨詢我們的銷售人員,只需要說清楚起吊什么東西,在什么樣的環境中使用,起重量和起升高度是多少等具體的需求即可。銷售人員一般會站在比較專業的角度去進行分析,然后推薦出一款更為適合的鋼絲繩電動葫蘆產品。

上一條:0.25-20噸CD1/MD1型電動葫蘆裝箱單
下一條:不知道防止鋼絲繩電動葫蘆卡繩的方法你就OUT了
北京市凌鷹起重機械廠
地址:北京市昌平區東小口
二十四小時手機:18611422091(同微信)
傳真: 010-58043523
網址:qhdbijin.com
抖音:lyqz18611422091
掃一掃加微信好友
