北京市凌鷹起重機械廠
地址:北京市昌平區東小口
二十四小時手機:18611422091(同微信)
傳真: 010-58043523
網址:qhdbijin.com
抖音:lyqz18611422091
掃一掃加微信好友




手動液壓搬運車有很多的稱呼,搬運車、叉車、地牛說的都是它。在商場、物流園、超市、搬家公司等地都能看到它的身影。手動液壓搬運車有很多的特點,保證了其基本使用性能。
凌鷹搬運車一般采用一體泵,質量上更加的優質,價格也相對較高。鋼板厚度,優質的3噸手動液壓搬運車鋼板厚度在4mm左右。輪子分為PU輪和聚氨酯輪,使用的場地不同。
手動液壓搬運車的組裝調試方法如下:
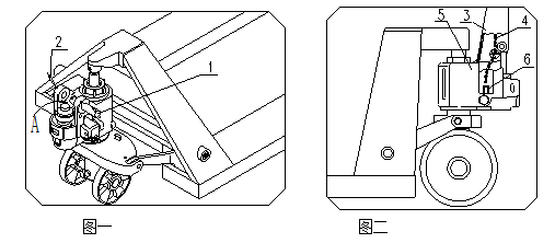
1、參見圖一,拔出銷軸1。

2、將手柄3插入A處,用銷軸1將手柄3與泵體5聯結起來。
3、然后將彈性銷2穿過銷軸1固定。
4、將手柄上的鏈條4穿過銷軸1中間的孔。見圖二
?

?
?
5、將鏈條4端部的螺釘螺母掛入杠桿板6的槽內。見圖二、圖四
6 、如圖三扳動手柄3,拔出銷子7,并將銷子7妥善保存,以備下次更換手柄時使用。
?

組裝完畢車輛調試。
1、車輛組裝完畢后,用手柄試搖一下,并操作控制捏手10的不同檔位,看看車子上升、空檔、下降是否正常。見圖五
2、圖四中的螺釘9是用作調整車況的。當車體上升后又馬上下降,可將螺釘53逆時針轉一點然后再試一下車子,直到正常上升。如果車體上升后無法下降,可將螺釘9順時針轉動一點然后再試一下車子,直到能正常下降。螺釘9處的外六角螺母8是起鎖緊作用的,調整前應松開,調整完畢后應鎖緊。

?
上一條:起重葫蘆在夏季維護的要點
下一條:永磁起重器的磁路設計原理
北京市凌鷹起重機械廠
地址:北京市昌平區東小口
二十四小時手機:18611422091(同微信)
傳真: 010-58043523
網址:qhdbijin.com
抖音:lyqz18611422091
掃一掃加微信好友
