北京市凌鷹起重機械廠
地址:北京市昌平區東小口
二十四小時手機:18611422091(同微信)
傳真: 010-58043523
網址:qhdbijin.com
抖音:lyqz18611422091
掃一掃加微信好友




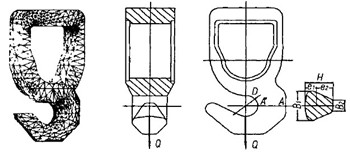
對一種碼頭特種吊鉤的強度進行了分析。首先確定吊鉤截面形狀,然后建立ANSYS有限元計算模型,并在其計算的基礎上,采用正交設計方法,研究此特種吊鉤四個主要設計參數(B1、B2、H、D)對其強度的影響規律,回歸出大應力計算公式,后按實際要求進行設計。

上一條:國外葫蘆式起重機發展近況
下一條:鋼絲繩報廢標準知多少
北京市凌鷹起重機械廠
地址:北京市昌平區東小口
二十四小時手機:18611422091(同微信)
傳真: 010-58043523
網址:qhdbijin.com
抖音:lyqz18611422091
掃一掃加微信好友
