北京市凌鷹起重機械廠
地址:北京市昌平區東小口
二十四小時手機:18611422091(同微信)
傳真: 010-58043523
網址:qhdbijin.com
抖音:lyqz18611422091
掃一掃加微信好友




大家好,我的名字叫導繩式電動葫蘆,是一種可以防脫繩的電動葫蘆!可以有效的防止導繩混亂、重疊而引發的電動葫蘆的故障,我的主人是北京市凌鷹起重機械廠!
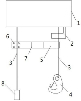
“我”主要包括電動葫蘆本體,電動葫蘆本體連接有導繩,導繩的兩端均位于電動葫蘆本體外部,導繩的一端連接有吊鉤,導繩的另一端連接有操作手柄,導繩上固連有U形板,U形板的開口端通過緊固螺栓與連接有操作手柄的導繩固定,U形板包括前側板和后側板,前側板向后傾斜,后側板向前傾斜,后側板的中部設有凹槽,凹槽內安裝有限位開關。
U形板的開口端設有用來緊固與操作手柄連接的導繩的緊固槽。緊固螺栓設置有兩排,兩排緊固螺栓之間留有用來緊固與操作手柄連接的導繩的緊固腔。U形板封閉端的內側設有橡膠層。U形板的上方設有上限位擋塊,上限位擋塊與電動葫蘆本體固連且穿過與吊鉤連接的導繩。U形板是一體成型。
大家知道“我”的優點是什么嗎?通過在導繩上安裝U形板,利用U形板的開口端將導繩固定的一端也就是與操作手柄連接的一端固定,將與吊鉤連接的一端的導繩穿過U形板的封閉端形成的空腔,可以對導繩起到一定的導向限定作用,能夠避免使用時懸伸在外部的導繩隨意晃動發生纏繩,并可節省安裝維修導繩器的費用,使用可靠、節約成本;同時,在U形板上安裝限位開關,當吊鉤運行到設定位置便能觸發限位開關,能夠避免吊鉤運行到極限位置時才響應,可消除使用過程中的安全隱患,提高使用的安全性。
我的作用有沒有很強大?想要把我帶回家,可以咨詢我的主人——北京市凌鷹起重機械廠哦!
備注:下面是“我”的結構示意圖,便于對我的深入了解!圖中,1、電動葫蘆本體,2、上限位擋塊,3、導繩,4、吊鉤,5、U形板,6、緊固螺栓,7、限位開關,8、操作手柄。

上一條:靜音技術——手動液壓搬運車
下一條:手拉葫蘆工作原理及日常維護
北京市凌鷹起重機械廠
地址:北京市昌平區東小口
二十四小時手機:18611422091(同微信)
傳真: 010-58043523
網址:qhdbijin.com
抖音:lyqz18611422091
掃一掃加微信好友
