北京市凌鷹起重機械廠
地址:北京市昌平區東小口
二十四小時手機:18611422091(同微信)
傳真: 010-58043523
網址:qhdbijin.com
抖音:lyqz18611422091
掃一掃加微信好友




微型電動葫蘆的下限位裝置是如何發展的?是否存在缺陷,以及改進的方法是什么?北京凌鷹為您詳細介紹:
一、現有技術
目前電動葫蘆上使用的上、下限位保護裝置一般用于單層繞線技術的大中型電動葫蘆上,上、下限位開關安裝在機器兩側或者偏中間的位置;電動葫蘆工作時,鋼絲繩上下運行帶動排線器,再由排線器帶動限位桿左右移動,當移動到上、下限位開關處時,限位桿上的碰塊壓下上、下限位開關的觸頭來實現上、下限位的目的;由于單層排線結構導致電動葫蘆繩筒體積變大、變長。
二、存在的缺陷
目前使用的微型電動葫蘆的鋼絲繩采用多層繞線技術,不適合采用大中型電動葫蘆上的上、下限位保護裝置,因此,目前的微型電動葫蘆只有配置上限位保護裝置,而沒有下限位保護裝置。沒有下限位的微型電動葫蘆,當貨物提升到額定的高度后,通過固定在鋼絲繩吊鉤之上的配重塊帶動上限位架觸動上限位開關,使電動葫蘆停止運行,從而起到安全保護作用;但是,當微型電動葫蘆往下牽引工作時,一旦行程超過鋼絲繩的額定長度后,如不及時關閉電源而任其運行,即會導致鋼絲繩在繩筒上反繞,下降的貨物會重新向上提升,由于反繞鋼絲繩是緊壓上限位內側工作,如不及時采取措施,對鋼絲繩和上限位架裝置均會產生嚴重的損害,存在著嚴重的安全隱患。
三、改進方法
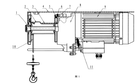
根據上述提出的技術上的缺陷,某起重機械公司,提出一種結構簡單合理、運行安全可靠的微型電動葫蘆下限位裝置,包括電機9、減速箱8、外殼4、繩筒3、繩筒軸1、鋼絲繩10,繩筒3的筒子上設有觸簧口,與減速箱8相鄰的繩筒3側壁上鉸接有限位觸簧,限位觸簧2一端從繩筒3內伸進筒子并凸出觸簧口,限位觸簧2另一端沿繩筒3側壁向外沿伸至筒緣并固定有弧形限位觸塊6,弧形限位觸塊6與繩筒3側壁之間設有復位彈簧5,減速箱8上固定有與弧形限位觸塊6相對應的下限位開關7。
四、改進的優勢
采用上述結構后,當微型電動葫蘆往下牽引工作時,一旦行程超過鋼絲繩的額定長度后,限位觸簧擺脫鋼絲繩的壓力,在復位彈簧的彈力作用下繞支點轉動并帶動弧形限位觸塊觸動下限位開關,使電動葫蘆停止運行,從而起到安全保護的作用。
備注:圖1為改進后的微型電動葫蘆下限位裝置

?
上一條:分析船用環鏈電動葫蘆的“缺陷”及“改進”
下一條:你不知道的手拉葫蘆八大特點
北京市凌鷹起重機械廠
地址:北京市昌平區東小口
二十四小時手機:18611422091(同微信)
傳真: 010-58043523
網址:qhdbijin.com
抖音:lyqz18611422091
掃一掃加微信好友
