北京市凌鷹起重機械廠
地址:北京市昌平區東小口
二十四小時手機:18611422091(同微信)
傳真: 010-58043523
網址:qhdbijin.com
抖音:lyqz18611422091
掃一掃加微信好友




手拉葫蘆又稱“倒鏈”,是一種使用簡單、攜帶方便的手動起重機械。適用于小型設備和貨物的短距離吊運,具有安全可靠、機械效率高、手鏈拉力小等特點。
一、手拉葫蘆檢修技術障礙
手拉葫蘆在長時間工作后,需要對手拉葫蘆進行檢修,現有的檢修均為操作人員手動操作進行檢修,這樣存在工作強度大,由于各個操作人員的水平不一,導致檢修的結果存在差異,導致后續的使用,減少了安全性能,降低了使用壽命。
二、解決方法
針對現有技術的不足,某起重葫蘆公司研發出一種手拉葫蘆空載檢修機,解決現有手拉葫蘆空載檢修時存在的工作量大,檢修效果差的缺陷。
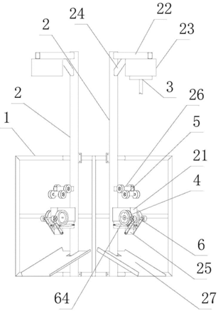
手拉葫蘆空載檢修機,包括機架,至少兩根固定連接在機架上高度可調的支撐架、每根所述支撐架的頂端均設有一個便于手拉葫蘆起吊懸掛的懸掛組件,所述支撐架的中部設有驅動手拉葫蘆的鏈條傳動的驅動組件,在驅動組件上方的所述支撐架上設有至少一個將鏈條導向至驅動組件內的導向組件,所述驅動組件上轉動連接有一個避免鏈條脫離驅動組件的壓緊組件。
三、新方案優勢
通過懸掛組件將手拉葫蘆懸掛在支撐架上,壓緊組件控制手動葫蘆的鏈條安裝在驅動組件上,并通過導向組件進行導向,提高了鏈條傳動的效果,改善了現有通過人員進行檢修時的工作強度,壓緊組件的設置,減少了鏈條的脫離,保證了鏈條的傳動,提高了檢修的效果,安全性能好,操作簡單,控制效果好。
?

?
上一條:分析電動葫蘆運行時出現異常聲響的三種情況
下一條:知識百科:電動葫蘆的使用和維護
北京市凌鷹起重機械廠
地址:北京市昌平區東小口
二十四小時手機:18611422091(同微信)
傳真: 010-58043523
網址:qhdbijin.com
抖音:lyqz18611422091
掃一掃加微信好友
