北京市凌鷹起重機械廠
地址:北京市昌平區東小口
二十四小時手機:18611422091(同微信)
傳真: 010-58043523
網址:qhdbijin.com
抖音:lyqz18611422091
掃一掃加微信好友




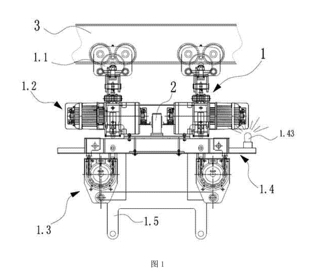
市面上的傳統冶金電動葫蘆都是單主機,在使用過程中單個主機容易晃動,在冶金行業晃動會使罐體內的液態金屬發生傾倒或濺出,高溫金屬會發生傾倒后,對廠區內操作的工人會帶來不可估量的嚴重事故,且一般的冶金電動葫蘆都只有一組制動裝置,容易發生事故失效,當制動裝置失效,會造成嚴重的安全事故。
為解決單機晃動的問題,凌鷹設計了一種雙主機雙鉤的冶金電動葫蘆,包括兩個電動葫蘆,兩個電動葫蘆對稱設置在軌道上,兩個電動葫蘆之間通過同步器相互連接,包括行走裝置、傳動裝置和吊鉤裝置,行走裝置設置在軌道上,與傳動裝置相互固定連接,傳動裝置與吊鉤裝置之間設置有隔熱防護裝置。

上一條:凌鷹詳解國內電動葫蘆現狀
下一條:哪款電動葫蘆更加適合你?
北京市凌鷹起重機械廠
地址:北京市昌平區東小口
二十四小時手機:18611422091(同微信)
傳真: 010-58043523
網址:qhdbijin.com
抖音:lyqz18611422091
掃一掃加微信好友
