北京市凌鷹起重機械廠
地址:北京市昌平區東小口
二十四小時手機:18611422091(同微信)
傳真: 010-58043523
網址:qhdbijin.com
抖音:lyqz18611422091
掃一掃加微信好友




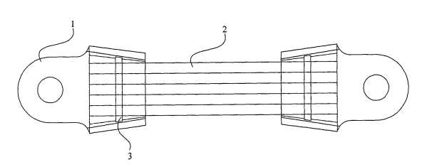
鋼絲繩吊索具一般適用于大型物件的吊運,要想起吊重大型物件時,目前市場上的單根澆鑄索具,只包含一根鋼絲繩很難滿足起重需求。這時需要增強鋼絲繩吊索具的承重力。可以把鋼絲繩索具的一根鋼絲繩加至2根到多跟,但是需要注意鋼絲繩的長度需要相等且均澆鑄在澆鑄接頭內。

這種適合吊運重大型物件的鋼絲繩吊索具如上圖所示,包括澆鑄接頭有和鋼絲繩2(包含鋼絲繩2至多根),鋼絲繩2的長度相等且均澆鑄在澆鑄街頭1內。這種設備增強了原有設備的承重力,也縮小了單根鋼絲繩的直徑,方便了工作人員的安裝和使用。同時,在同等噸位的吊索具中,這種成本要低于原有單根鋼絲繩結構的吊索具的成本。
上一條:圖解環鏈電動葫蘆主制動器的制動方式
下一條:關于移動式手拉葫蘆的那些事
北京市凌鷹起重機械廠
地址:北京市昌平區東小口
二十四小時手機:18611422091(同微信)
傳真: 010-58043523
網址:qhdbijin.com
抖音:lyqz18611422091
掃一掃加微信好友
