北京市凌鷹起重機械廠
地址:北京市昌平區東小口
二十四小時手機:18611422091(同微信)
傳真: 010-58043523
網址:qhdbijin.com
抖音:lyqz18611422091
掃一掃加微信好友




移動式手拉葫蘆可以說是應時代而生的一款起重工具,一些生產領域,很多的小型設備需要經常拆裝移動。人工費時費力,手拉葫蘆雖然可以提起設備,但卻不能移動,而移動式手拉葫蘆完美的解決了這個問題。
移動式手拉葫蘆的實現,需要手拉葫蘆、工字鋼和滑行小車。滑行小車上面需要有推拉把手或手拉鏈。這種移動式手拉葫蘆可以被廣泛的應用在起重量不大,移動空間有限的場所。
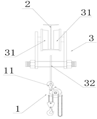
移動式手拉葫蘆更能很好的完成操作任務,可以實現上下左右行走,使操作更加方便。下圖為移動式手拉葫蘆實現結構圖,其中1為手拉葫蘆,2為工字鋼,3為滑行小車,11為手拉葫蘆的上吊鉤,31為滾輪,32為安裝支架。
?

?
上一條:鋼絲繩吊索具如何滿足大噸位吊裝需求
下一條:論電動葫蘆回收再利用的重要性
北京市凌鷹起重機械廠
地址:北京市昌平區東小口
二十四小時手機:18611422091(同微信)
傳真: 010-58043523
網址:qhdbijin.com
抖音:lyqz18611422091
掃一掃加微信好友
